Views: 0 Author: Site Editor Publish Time: 2026-03-05 Origin: Site
For truck drivers who travel on the roads all year round, the clutch pedal at their feet is not only a bridge connecting the engine and the gearbox, but also a key switch for controlling heavy-duty driving. Different from the clutch control of passenger cars, as a "giant" carrying tens of tons of weight, a truck's clutch control system must not only withstand huge power transmission pressure, but also balance operational lightness and safety. After all, stepping on the pedal hundreds of times a day is not only related to driving comfort, but also directly affects driving safety and vehicle service life. Today, combined with professional technical standards, we will fully disassemble the truck clutch control system and take you to understand the core logic of this "heavy-duty companion" in plain language.
The core structure of the clutch control system is divided into two major parts: the clutch and the clutch operating mechanism. The seemingly simple "press and release" is essentially the coordination of these two components, which realizes the connection and disconnection of power between the engine and the transmission, creating conditions for gear shifting of the gearbox. The torque of a truck engine can reach thousands of Newton-meters, and it is impossible to directly disengage the clutch only by the driver's physical strength. This is also the biggest difference between a truck's clutch control system and that of a passenger car: it must rely on a booster device to allow the driver to complete the operation easily, while ensuring stable and accurate power transmission.
Mounted between the engine and the transmission and assembled with the flywheel assembly of the engine crankshaft, the clutch is a core assembly directly connected to the engine in the truck's transmission system and also the control core of the clutch control system. As a key component for cutting off and transmitting power between the engine and the transmission system, the truck clutch must withstand thousands of Newton-meters of torque to adapt to heavy-duty and high-frequency working conditions. Its structural design and material selection are all tailored for heavy-duty working conditions. Its core functions are far more than simple power on and off; it is also a "protector" and "buffer pad" for the entire vehicle's transmission system.

The clutch plays a key role in the entire process of a truck from starting to normal driving, and is an important component to ensure driving smoothness and the service life of the transmission system:
1. Achieve smooth starting: Gradually engage the engine and the transmission to avoid vehicle stalling or damage to transmission components caused by sudden power impact, adapting to the truck's heavy-duty starting requirements;
2. Facilitate gear shifting: Temporarily cut off the power connection between the engine and the transmission, allowing the gearbox to complete gear shifting when the input shaft has no driving force, reducing gear impact during shifting;
3. Protect the transmission system: Realize power disconnection when the vehicle brakes emergently to prevent overload damage to the transmission, drive shaft and other transmission system components;
4. Reduce torsional vibration impact: The engine's output torque is inherently unstable, and the tangential damping springs in the clutch can effectively absorb such vibrations, greatly reducing the adverse effects on subsequent transmission components and extending the service life of the transmission;
5. Assist engine starting: Completely separate the engine from the transmission system, reduce the load during starting, and make the engine easier to start.
In accordance with the national standard GB/T10042-2017 Clutch Terminology, automobile clutches are divided into friction clutches, torque converters, electromagnetic clutches, automatic clutches, etc. Among them, the friction clutch is the absolute mainstream for commercial vehicles and can be further subdivided according to different dimensions. The configuration selection of trucks is strictly divided according to tonnage and working conditions with strong pertinence:
1. By working medium: Friction clutches are divided into dry and wet types. The dry type is the standard configuration for commercial vehicles and also the core type introduced in this article;
2. By the number of driven discs: Divided into single-disc, double-disc and multi-disc types. The single-disc type is suitable for medium and light trucks, while the double-disc type is mostly used for heavy trucks to improve torque bearing capacity;
3. By the arrangement characteristics of compression springs: Divided into circumferential spring clutches, central spring clutches and diaphragm spring clutches. Among them, diaphragm spring clutches are further divided into pull-type and push-type, which are the mainstream choice for current trucks. The most commonly used clutch combination for commercial vehicles is the single-disc, dry-type, diaphragm spring clutch.
The clutch structure of a truck is highly matched with its tonnage. Automakers select suitable clutch types according to the working condition requirements of micro trucks, light trucks, medium trucks and heavy trucks. Among them, the diaphragm spring clutch has become the standard configuration for medium and light trucks and the mainstream for heavy trucks by virtue of multiple advantages:
(1) Micro, Light and Medium Trucks: Diaphragm Spring Clutch as the Main Configuration
At present, the vast majority of micro, light and medium trucks on the market adopt diaphragm spring clutches. The core reason is that it is adapted to the working conditions of medium and light trucks and has significant advantages over the traditional circumferential spring clutch:
· The spring compression force is stable, slightly affected by the wear of the friction plate, and can still ensure the reliability of power transmission after long-term use;
· The release force is smaller, and with the operating mechanism, it can greatly reduce the driver's pedaling force and reduce driving fatigue;
· No special release lever is needed, the structure is simpler, the overall weight is lighter, and the vehicle space is saved;
· The compression force of the diaphragm spring and the pressure plate is evenly distributed, making the contact surface of the friction pair better, the friction plate wear more uniform, and extending the service life of wearing parts;
· The spring compression force is not affected by centrifugal force, and the power transmission is more stable during high-speed driving.
(2) Heavy Trucks: Three Types Coexist, Diaphragm Spring Clutch with the Highest Assembly Volume
The clutches used in domestic heavy trucks are mainly three types: single-disc circumferential coil spring clutches, single-disc diaphragm spring clutches and double-disc diaphragm spring clutches. Among them, the diaphragm spring clutch has the highest market assembly volume, balancing operational lightness and heavy-duty bearing capacity. The double-disc diaphragm spring clutch is mostly used for ultra-heavy and ultra-high torque heavy truck models to further improve the stability of power transmission.

The core components of a truck's dry friction clutch assembly are designed around the working logic of "friction engagement and disengagement cut-off". All components cooperate with each other to ensure stable and reliable power transmission, and they are also the focus of daily maintenance and fault troubleshooting for truck drivers:

(1) Clutch Driven Disc: The "Intermediate Carrier" of Power Transmission
The driven disc is a key intermediate component connecting engine power and the gearbox, mainly composed of two friction linings, a driven steel plate and a driven disc hub. Its center is connected to the gearbox input shaft through splines and can move back and forth along the shaft. One side is attached to the clutch friction lining, and the other side is in close contact with the flywheel and pressure plate. It is equipped with tangential damping springs inside, which can effectively absorb the instability of the engine's output torque, reduce torsional vibration impact, avoid vehicle jitter during power transmission, make clutch engagement softer and starting smoother, and protect subsequent transmission components from damage at the same time. As a wearing part, the friction linings of the driven disc bear high pressure and high-temperature friction for a long time, so their wear status must be inspected regularly to avoid power transmission slip caused by excessive wear of the linings.
(2) Clutch Cover: The "Core Base" for Component Assembly
The clutch cover is an important assembly carrier of the clutch assembly, closely connected to the engine flywheel through bolts. It undertakes the function of fixing the pressure plate and installing compression springs (diaphragm springs or circumferential coil springs), and is a core component to ensure the structural stability of the clutch. A truck clutch cover must have sufficient rigidity and dimensional accuracy, with a tolerance requirement usually less than 0.5mm. The clutch cover used for heavy trucks is mostly made of high-strength thick plate stamping with a thickness of not less than 5mm. Some are also designed with ventilation windows for heat dissipation and cooling to avoid component deformation or damage caused by overheating during long-term high-speed operation. Its structural strength directly determines the bearing capacity of the clutch. If deformation occurs, it will cause uneven stress on the pressure plate, leading to uneven wear of the friction plate and unstable power transmission.
(3) Flywheel: The "Speed Stabilization Hub" of Power Output
Installed at the end of the engine crankshaft and rotating at high speed synchronously with the engine, the flywheel is a basic component for power output in the clutch assembly and also the assembly benchmark for the clutch cover. Its surface is precision machined and closely attached to the friction lining of the driven disc, transmitting engine power to the driven disc through friction, and then further to the gearbox. The flywheel has a large mass, which can effectively store the energy during engine operation, stabilize the engine speed, and reduce vibration during operation. It is especially suitable for the power demand of trucks during heavy-duty starting, avoiding vehicle stalling due to instantaneous power shortage. In addition, the flywheel is an important matching component for clutch engagement and disengagement, and its flatness directly affects the stability of power transmission.
(4) Release Bearing: The "Flexible Hub" for Clutch Disengagement
The release bearing is a core executive component for realizing clutch disengagement, installed between the release mechanism and the pressure plate in the clutch cover, and most of them are ball bearings. Its main function is to reduce the frictional resistance during disengagement to ensure smooth, non-jamming and noiseless clutch disengagement. During operation, the release bearing has to bear the dual loads of axial pressure and high-speed rotation at the same time. When the driver depresses the clutch pedal and the operating mechanism pushes the release fork, the release bearing moves forward, extrudes the diaphragm spring or release lever, drives the pressure plate to move backward, realizes the separation of the driven disc from the flywheel and pressure plate, and cuts off power transmission. Due to its harsh working environment, it is prone to wear and jamming. If abnormal noise is found during operation, it must be replaced in time. Otherwise, it will lead to incomplete clutch disengagement, difficulty in shifting gears, and even damage to other core components.
The core working principle of the clutch assembly is "friction engagement and disengagement cut-off". The whole process is closely coordinated with the clutch operating mechanism and divided into three core stages, which perfectly adapt to all scenarios of truck starting, shifting and normal driving:
1. Engaged state: When the vehicle is driving normally, the clutch is in the engaged state. The pressure plate presses the clutch plate tightly against the flywheel under the action of the spring. Engine power is transmitted to the wheels through the flywheel → clutch plate → driven disc → gearbox. At this time, the release bearing is stationary and the release mechanism is not under force;
2. Disengaged state: The driver depresses the clutch pedal, the operating mechanism pushes the release fork, drives the release bearing to extrude the release component, makes the pressure plate move backward, the spring compress, the clutch plate completely separate from the flywheel and pressure plate, the power transmission is cut off, and the gearbox can shift gears without load;
3. Semi-engaged state (semi-linkage): After shifting is completed, the driver slowly releases the clutch pedal, the pressure plate gradually moves forward under the action of the spring, the clutch plate gradually fits with the flywheel and pressure plate, power is transmitted step by step, and the vehicle starts smoothly. This stage is the key for heavy-duty truck starting and can avoid power impact.

The clutch operating mechanism is the part directly controlled by the driver, whose core function is to manipulate the clutch conveniently and labor-savingly to realize the engagement and disengagement of the pressure plate and the driven disc. Its design directly determines the lightness of pedaling and the accuracy of control. According to national standard classification, there are multiple classification methods for the operating mechanism, and the truck industry has formed a fixed configuration system according to tonnage and working conditions. From the early pure manual control to the current hydraulic and pneumatic booster, it has greatly reduced the driving burden of truck drivers.
The classification of clutch operating mechanisms has two core dimensions, and different classification methods intersect with each other, forming the diverse configuration of truck operating mechanisms today:
1. By structural characteristics: Divided into mechanical, hydraulic and pneumatic types;
2. By the energy source for clutch disengagement: Divided into manual operation, (hydraulic/pneumatic) booster operation and power operation. Among them, the booster type is the mainstream configuration for trucks.
The selection of truck operating mechanisms is strictly matched with tonnage. Mechanical hydraulic type is the main choice for micro, light and medium trucks, while hydraulic pneumatic booster type is the standard configuration for heavy trucks. Different types of mechanisms have their own focuses on structure, principle and advantages, all designed around "adapting to working conditions and labor-saving operation":
(1) Mechanical Clutch Operating Mechanism: The Most Basic "Manual Type"
This is the earliest form of clutch operation, belonging to manual operation. It mainly relies on rod or cable drive to transmit power, completely using the driver's physical strength as the operating energy without any booster device.
· Rod structure: Simple, low manufacturing cost, few faults, but many joints, large friction loss, and greatly affected by vehicle body deformation;
· Cable structure: Flexible layout, capable of long-distance operation, but the cable has a short service life and low tensile stiffness.Adapted scenarios: Only seen on some old light trucks, and has been gradually replaced by booster types at present. Advantages: convenient maintenance and low cost; Disadvantages: laborious operation, easy to cause driver fatigue during long-time driving.

(2) Mechanical Hydraulic Clutch Operating Mechanism: The "Mainstream Type" for Medium and Light Trucks
Currently the mainstream configuration for micro, light and medium trucks, it belongs to hydraulic booster operation. It is mainly composed of clutch pedal, clutch master cylinder, clutch slave cylinder and clutch oil pipe, a combination of mechanical and hydraulic types, which amplifies the driver's pedaling force by using hydraulic principles.Working principle: When the pedal is depressed, the master cylinder piston is pressed, hydraulic oil transmits pressure to the slave cylinder through the high-pressure oil pipe, and the slave cylinder push rod pushes the release fork to drive the release bearing to realize clutch disengagement; when the pedal is released, the pressure is relieved, the return spring drives all components to reset, and the clutch re-engages.Advantages: Small frictional resistance, light operation, flexible layout without being affected by vehicle body deformation, soft engagement, suitable for short-distance and medium-short distance transportation scenarios of medium and light trucks;Disadvantages: The hydraulic system needs regular oil inspection. If the oil pipe leaks or air enters, it will cause clutch failure, and the maintenance difficulty is slightly higher than that of the mechanical type.

(3) Hydraulic Pneumatic Booster Clutch Operating Mechanism: The "Standard Configuration" for Heavy Trucks
The mainstream operating mechanism for domestic heavy trucks, adopted by mainstream heavy truck brands such as Auman, it belongs to the dual booster operation of "hydraulic + pneumatic". It is mainly composed of clutch pedal, hydraulic master cylinder, liquid storage tank, pneumatic booster working cylinder and high and low pressure oil pipes. It takes air pressure as the main booster source, and the driver's physical strength is only used as auxiliary and backup power source, which perfectly solves the problem of large clutch disengagement force of heavy trucks.Working principle: When the pedal is depressed, the hydraulic master cylinder first generates hydraulic pressure, and at the same time triggers the pneumatic booster working cylinder. The compressed air generated by the engine-driven air compressor provides strong boosting force. The hydraulic pressure and air pressure act together to push the release mechanism to realize clutch disengagement. The boosting effect is proportional to the pedal stroke, making the control more accurate.
Advantages: Extremely light operation, greatly reducing the pedaling force of heavy truck drivers, reducing fatigue during long-distance driving, stable power transmission, suitable for the core working conditions of heavy truck heavy-duty and long-distance transportation;
Disadvantages: The structure is more complex than the mechanical hydraulic type, the manufacturing cost is higher, the dual systems of air circuit and oil circuit need regular inspection, and the maintenance requires professional technology.
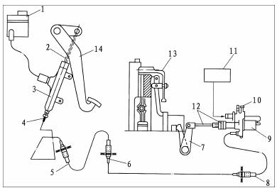
The figure shows the hydraulic pneumatic booster clutch operating mechanism of the clutch for Dongfeng EQ1141G automobile. The pneumatic booster system is mainly composed of a booster (9), an air reservoir (11) and pneumatic pipelines, etc.

The driver depresses the pedal (14) and presses the piston of the master cylinder (3) through the push rod (2). The hydraulic oil pressed out from the master cylinder enters the inner cavity of the booster (9) through the pipeline. The oil pressure acts directly on the hydraulic piston and push rod (12) of the working cylinder on the one hand, and opens the valve connected to the air reservoir (11) on the other hand. The high-pressure air in the air reservoir enters the rear end of the cylinder piston of the booster, pushes the cylinder piston and push rod, and boosts the hydraulic piston and push rod of the working cylinder.
When the pedal is released, the master cylinder piston resets, the oil pressure of the booster is relieved, the pneumatic boosting stops and is relieved, the clutch and the working cylinder piston reset under the action of their respective return springs, and the clutch engages.
The core of clutch operation follows the principle of "Fast press, slow release, and coordinated control", which is a basic skill for truck driving. It can not only ensure driving smoothness, but also extend the service life of the clutch system:
· Fast press: Move quickly when depressing the clutch pedal and press it to the bottom in one step to completely disengage the clutch and avoid wear of the friction plate caused by the semi-disengaged state;
· Slow release: Move slowly when releasing the clutch pedal to the semi-linkage state to allow smooth power engagement, adapting to heavy-duty starting;
· Coordinated control: Cooperate the clutch pedal, accelerator and brake during the semi-linkage state to realize smooth vehicle starting or gear shifting.
Most faults of the truck clutch control system focus on four aspects: wear, leakage, misalignment and jamming. Faults of the clutch assembly and the operating mechanism affect each other, and small problems may lead to inability to shift gears, power interruption and seriously affect driving safety:
Phenomenon: After depressing the clutch pedal, there is a "clacking" gear impact sound when shifting, unable to shift gears smoothly or even shift gears; in severe cases, the vehicle stalls when the pedal is released.
Common causes: Excessively large push rod clearance and booster cylinder rocker arm clearance; air entering the hydraulic pipeline and shortened oil pipe expansion stroke; deformation or inconsistent height of the release lever/diaphragm spring; excessively thick newly replaced friction plate or incorrect installation.
Solutions: Adjust the push rod clearance to 0.5-1mm and the booster cylinder rocker arm clearance to 3-5mm; repeatedly bleed the hydraulic pipeline and replace the aging oil pipe; calibrate the height of the release lever/diaphragm spring, replace or reinstall qualified friction plates.
Phenomenon: The pedaling force of the pedal increases significantly, requiring great effort to press to the bottom, the driver's legs are sore after long-time driving, and the normal operation is impossible in severe cases.
Common causes: Air circuit leakage and low air pressure (hydraulic pneumatic booster type); excessively large installation deflection angle of the rocker arm; deformation and jamming of the clutch mechanism; damage, oil leakage and jamming of the master cylinder/slave cylinder cup; air entering the oil circuit; damage and jamming of the release bearing.
Solutions: Overhaul the air circuit seal and raise the air source pressure to more than 0.7MPa; adjust the rocker arm installation angle to less than 3 degrees; overhaul the deformed transmission mechanism and replace the damaged master cylinder, slave cylinder or release bearing; bleed the hydraulic pipeline and replenish qualified brake fluid.
Phenomenon: After depressing the pedal, the pedal cannot reset automatically when released, causing the clutch to be in a semi-disengaged state for a long time, resulting in poor power transmission and accelerated wear of the friction plate.
Common causes: Unqualified master cylinder push rod clearance; jamming and deformation of the clutch pedal mechanism; broken or invalid return spring; jamming and inability to reset of the slave cylinder/booster cylinder.
Solutions: Adjust the master cylinder push rod clearance to the standard value; clean and overhaul the jamming part of the pedal mechanism; replace the broken/invalid return spring; overhaul or replace the jammed slave cylinder/booster cylinder.
Phenomenon: Air leakage when the clutch is not depressed (air circuit pipeline/joint leakage); air leakage when the clutch is depressed (booster cylinder piston leakage); hydraulic pipeline oil leakage, rapid drop of oil level, and insufficient clutch disengagement force.
Solutions: Overhaul the air circuit pipelines and joints, replace the damaged booster cylinder; inspect the hydraulic pipelines, replace the damaged seals, disassemble and clean the pipelines and assemblies; fill with qualified brake fluid, and it is strictly forbidden to use mechanical oil to avoid damage to hydraulic components.
Phenomenon: The engine speed increases when the accelerator is depressed, but the vehicle speed does not increase, especially obvious when climbing and under heavy load, and the friction plate is prone to high-temperature ablation.
Common causes: Excessive wear, hardening or oil contamination of the friction plate; insufficient elasticity of the pressure plate spring; excessively small free travel of the clutch pedal leading to a semi-disengaged state.
Solutions: Replace the worn friction plate and clean the oil contamination on the surface of the pressure plate and flywheel; replace the pressure plate spring with insufficient elasticity; adjust the free travel of the pedal to the standard value.
The service life of the clutch system depends 70% on maintenance and 30% on operation. Truck drivers can greatly reduce faults and maintenance costs only by doing simple regular inspections and standard operations:
1. Regular inspection: Check the hydraulic oil/brake fluid level every week, and timely replenish or replace the oil if it is turbid or insufficient; inspect whether the air circuit pipelines and hydraulic oil pipes are leaking or aging, and replace the damaged components in time; check whether the release bearing has abnormal noise, and regularly fill with high-temperature grease;
2. Standard operation: Avoid pressing the clutch halfway for a long time to prevent excessive wear of the friction plate; press the clutch to the bottom when shifting gears to avoid gear impact; follow the principle of "Fast press, slow release, and coordinated control" for heavy-duty starting, and avoid suddenly releasing the clutch and slamming the accelerator;
3. Regular maintenance: Replace the friction plate, hydraulic oil and brake fluid regularly according to the vehicle manual; regularly lubricate the hinged parts such as the release fork and rocker arm, and adjust the clearance of each part; regularly drain water and clean impurities from the air circuit system to ensure stable air pressure;
4. Early fault troubleshooting: Timely troubleshoot and repair small problems such as pedal abnormal noise, changes in pedaling force, and unsmooth gear shifting to avoid small faults developing into major ones and causing breakdowns on the road.
The truck clutch control system is not only a bridge between the engine and the transmission system, but also a core switch for truck drivers to control heavy-duty driving. It consists of two core parts: the clutch assembly and the clutch operating mechanism. The two cooperate with each other to realize stable power transmission and accurate cut-off. From the perspective of clutch selection, the diaphragm spring clutch has become the mainstream for all tonnage trucks, with single-disc dry type as the standard configuration for medium and light trucks, and heavy trucks choosing between single-disc and double-disc diaphragm spring clutches; from the perspective of operating mechanisms, the mechanical hydraulic type is suitable for medium and light trucks, and the hydraulic pneumatic booster type is the standard configuration for heavy trucks. Boosting, lightweight and precision have become the core development directions of the industry.
For truck drivers who travel for transportation all year round, understanding the structure, principle and fault troubleshooting methods of the clutch control system can not only quickly judge and handle vehicle problems in time to avoid breakdowns on the road, but also extend the system service life and reduce maintenance costs through standard operation and daily maintenance. Although the pedal under the feet is small, it bears the power transmission of the entire vehicle. Understanding and caring for it can keep the truck in the best condition and escort every heavy-duty trip.